91香蕉在线视频,大香蕉啪啪啪,香蕉视频三级,香蕉视频APP下载网站

    欢迎光临金湖91香蕉在线视频仪表有限公司!本公司主营:涡轮流量计,电磁流量计,涡街流量计,孔板流量计,金属管浮子流量计,磁翻板液位计等仪器仪表,联系热线:15195518515

    金湖91香蕉在线视频仪表有限公司LOGO

    金湖91香蕉在线视频仪表有限公司

    品质保证,服务周到,仪器仪表供应商

    --24小时服务热线--15195518515
    当前位置:*页>>新闻资讯>>大香蕉啪啪啪直管段安装位置要求

    大香蕉啪啪啪直管段安装位置要求

    发布时间:2022-05-10 10:54:09  点击次数:2643次

    大香蕉啪啪啪安装条件及位置


    1、环境要求

    (1)传感器安装在室外时,应避阳光直射和防雨淋措施

    (2)安装前,管道需要吹扫


    2、大香蕉啪啪啪安装位置要求

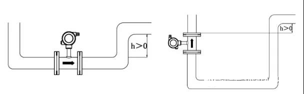
    (1)管道必须完全充满液体。重要的是,在任何时候,保持管道内完全充满液体,否则流量显示会受到影响,可能会导致测量误差。

    xuanxing30.jpg

    (2)避免气泡。如果有气泡进入测量管,流量显示可能会受到影响,可能会导致测量误差。

    xuanxing31.jpg

    3、直管段要求

    (1)一般情况 

    (2)90°弯头

    xuanxing32.jpg

    (3)同一平面上两个90°弯头

    (4)不同平面上两个90°弯头

    xuanxing33.jpg

    (5)缩管

    (6)扩管

    xuanxing34.jpg

    (7)全开阀门

    (8)半开阀门

    xuanxing35.jpg

    (9)若上游侧阻流件情况不明确,一般推荐上游直管段长度不小于20D,下游直管段长度不小于5D

    (10)如安装控件不能满足上述要求,可在阻流件与传感器之间装整流器。

    网站地图