产品目录
大香蕉啪啪啪
液体流量计
香蕉视频APP下载网站
油流量计
香蕉视频三级
椭圆齿轮流量计
电磁流量计
涡街流量计
蒸汽流量计
孔板流量计
旋进旋涡流量计
热式气体质量流量计
转子流量计
浮子流量计
靶式流量计
气体流量计
超声波流量计
磁翻板液位计
浮子液位计
浮球液位计
玻璃管液位计
雷达液位计
超声波液位计
投入式液位计
压力变送器
差压变送器
液位变送器
温度变送器
热电偶
热电阻
双金属温度计
推荐产品
联系91香蕉在线视频
- 金湖91香蕉在线视频仪表有限公司
- 联系电话:15195518515
- 在线客服:1464856260
- 电话:0517-86801009
- 传真号码:0517-86801007
- 邮箱:1464856260@qq.com
- 网址:http://www.lafattehome.com
- 地址:江苏省金湖县理士大道61号
根据涡轮流量计的原理和误差理论提高测量精度
发布时间:2020-08-30 22:58:49 点击次数:3082次
提要:根据涡轮流量计的工作原理和误差理论的分析与合成原则, 从理论和实际应用上,分析了产生误差的原因和误差量级, 阐述了提高涡轮流量计测量水泵流量精度的方法。
水泵试验中, 精度是测试工作的重点, 而其中流量的测量误差往往在效率试验中占总误差的70%以上。因此, 减小流量测量误差是提高水泵测试精度的重要环节。
目前, 水泵流量的测量方法很多, 其中涡轮流量计使用方便, 价格适宜, 使用甚广。利用其优点, 采用测频计数——测周计脉冲法, 可有效地控制误差, 提高测试精度。
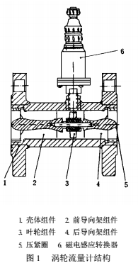
1、涡轮流量计的工作原理
智能型涡轮流量计的结构如图1所示。它是一种速度式流量仪表, 以动量矩的守恒原理为基础。当流体冲击叶轮叶片, 使叶轮旋转。旋转速度随流量的变化而变化, 同时导磁性的叶轮周期性的改变磁电系统的磁阻值, 使通过线圈的磁通量发生周期性的变化, 因而在线圈内感应出脉冲电信号, 经放大后计数和显示。
部分涡轮流量计的规格和精度如表1所示。

在测量范围内, 叶轮的转速可看成与流量成正比, 而信号脉冲数与叶轮的转速成正比, 所以当测得叶轮转动频率f或某一时间内的脉冲总数m后, 分别除以涡轮流量计常数ζ(次/L),便可求得流量Q (L/s),即

由此可见,用涡轮流量计测量水泵流量,需测量频率f。从表1中可见,涡轮流量计的频率(精度范围内)在20Hz到500Hz之间。

2、误差分析
根据误差理论中误差分析与合成原则,使用涡轮流量计测量水泵流量时, 其系统误差用方和根表示为

式中δQ——用涡轮流量计测量流量时的系统误差;
δw——涡轮流量计精度, 选用一定的流量计,其精度也就基本确定;
δf——涡轮流量计输出信号频率的测量精度, 由频率测量方法决定。
因此, 提高涡轮流量计测量流量的精度, 必须降低δf到微小误差的量级上, 使之可以忽略不计。一般频率的测量精度由两部分组成,即
δf=δ±1个字
式中 δ由频率测量通道的时钟电路和输入放大电路决定, 通常为0.1%;±1个字是由于检测周期与计数脉冲不同步,使计数器多计或少计一个数所造成的误差。
频率测量通常是在标准时间内,用计数器累计涡轮流量计输出的脉冲数来计算的, 显然, 标准时间和信号周期是同步的, 即标准时间不可能正好是信号脉冲的整数倍。其±1个字的误差在标准时间为1s时,就是±1Hz,相对误差为±1f/1×100%。因此,这种方法在小流量(低频)时,由于计数值较少,误差是相当大的。如f=10Hz时,相对误差为10%,将标准时间延长为10s,其相对误差仍有1%,即使在大流量时,如f=500Hz时,其相对精度仍有0.2%。因此,计数测频法在水泵整个流量范围内,误差不能控制在微小误差数量级上,因而不可忽略。
3、提高精度的方法
精确测量频率的关键是使检测周期与信号周期同步。因此,91香蕉在线视频设想用信号周期作为检测周期, 将测频计数和测周计脉冲相结合, 这样, 既可在小流量时可靠地测频, 在大流量时亦具有较高的分辨率。
这种方法的硬件电路如图2所示,包括单片机8031,可编程定时器8253以及两个D触发器。其中t1由一个8253定时器0来定时,其值是不变的。检测时间t在t1结束后,由涡轮流量计输出信号的*一个脉冲来决定。即t=t1+△t,m1和m2是检测时间t内涡轮流量计发出的脉冲数和时钟脉冲的计数值,T0是一个脉冲的周期,分别用8253定时器1和定时器2进行计数,且t=m2T0,则频率f 为


这种方法的外部中断服务程序框图如图3所示。

采用这种方法只存在时钟脉冲的计数误差。由于晶振的时钟频率f0很高,在一个信号周期内,±1个字的误差为f/f0,若f0=1MHz,在小流量(f=10Hz)时,相对误差为0.001%;大流量(f=500Hz)时,其相对误差为0.05%。因此,频率测量误差δf相对δw和δ为微小误差,可以忽略其影响。
4、结论
采用测频计数——测周计脉冲法与目前测频计数法相比,前者远远小于后者的测量误差,采用这种方法不仅测量精度有保证,且可靠易于实现,可从根本上解决涡轮流量计对水泵流量的测量精度及减小误差问题。表2是改进前后的测量误差实测对比。

经过实际应用证明,这种方法在精度和误差方面完全符合理论研究与设计结果,是提高涡轮流量计对水泵流量测量精度较好的方法。
相关资讯
- 香蕉视频三级安装直管段要求
- 香蕉视频三级的结构与工作原理
- 香蕉视频三级的产品特点和适用范围
- 香蕉视频三级选型指南与外形尺寸
- 涡轮流量计的常见故障及排除
- 涡轮流量表怎么调节
- 涡轮流量计安装直管段要求
- 涡轮流量计的适用场合与量程范围
- 涡轮流量计由什么组成
- 涡轮流量计的工作原理
- 压力对涡轮流量计精度的影响
- 大香蕉啪啪啪使用常见问题
- 大香蕉啪啪啪的使用场合
- 大香蕉啪啪啪怎么接电
- 涡轮流量计的使用范围
- 涡轮流量计安装条件与环境要求
- 涡轮流量计安装在什么位置
- 大香蕉啪啪啪设置方法
- 香蕉视频三级使用环境
- 香蕉视频三级使用注意事项
- 香蕉视频三级怎么清洗
- 香蕉视频三级适用范围
- 香蕉视频三级为什么要加油
- 香蕉视频三级波动大解决办法
- 香蕉视频三级安装距离要求
- 香蕉视频三级安装注意事项
- 香蕉视频三级应用范围
- 香蕉视频三级常见故障有哪些
- 提高香蕉视频三级精度的方法
- 香蕉视频三级精度等级

